上海重型錘式破碎機碎石機價格
上海重型錘式破碎機碎石機價格
重型錘式破碎機碎石機設備的價格更是受到多種因素的限制和影響,其中包括設備的制作材質、市場的行情、廠家生產的設備技術投入、生產廠家的服務和銷售團隊、以及整個經濟的狀況等。詳細解答
詳細解答
根據破碎機設備的發展史,小編得知礦石物料的破碎設備主要生產方式是破碎、打擊、擠壓、以及撞擊生產。其中錘式破碎機設備主要是通過破碎打擊等生產方式進行巖石物料的破碎生產。錘式破碎機設備根據轉子的數量不同可以分為單段錘式破碎機和雙轉錘式破碎機;很據轉子的旋轉方向可以分為可逆錘式破碎機和不可逆錘式破碎機設備;同時根據產量可以分為整形錘式破碎機和重型錘式破碎機設備。小編將就單轉子大產量的重型錘式破碎機和碎石機設備進行講解。

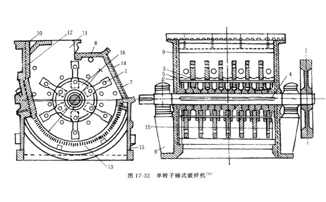
重型錘式破碎機設備主要的零配件有轉子、機殼、錘頭、篦條、反擊板、以及鼎力產品調節襯板等配件。生產時只有各個配件之間的相互配合以及合理的安裝和生產才能物料生產的粒度合理性以及粒型的性。

其中主要配件轉子和錘頭設備中,錘頭設備是與物料接觸和轉機多的部件也是易磨損的配件。因此各個廠家為了提高錘頭的使用壽命和打擊能力紛紛使用材質其中包括高錳鋼、高鉻合金、錳鋼、中鋼等物料并且加大錘頭的重量以增大破碎和打擊的力度。同時中譽鼎力再次提醒用戶選購錘式破碎機時應該選用合適和設備。中譽鼎力的重型錘式破碎機設備的錘頭使用的是合金材質同時在錘頭的設計中采用厚重短粗的設備理念的避免的長形錘頭的斷裂等問題。

重型錘式破碎機轉子的運轉方向來看主要是不可逆的錘式破碎機設備。轉子的運轉需要依從正轉的方向進行破碎,否則會將物料從進料口甩出造成生產的危險。重型錘式破碎機設備的轉子是破碎機設備的主要部件,有很多用戶在咨詢配件更換時會想要更換破碎機轉子。鼎力在此提醒廣大用戶,如果錘式破碎機設備的轉子出現問題需要更換,您可以考慮換一臺新設備。因為錘式破碎機設備作為破碎機生產中的和高技術配件更換時的費用與更換一臺新設備相差不多,且新設備的問題相較于舊設備問題少使用壽命更長。
重型錘式破碎機碎石機設備的價格更是受到多種因素的限制和影響,其中包括設備的制作材質、市場的行情、廠家生產的設備技術投入、生產廠家的服務和銷售團隊、以及整個經濟的狀況等。但是無論設備的價格如何變幻以及多樣,作為用戶認準的應該是設備的質量以及對于生產線的實用性。其中鼎力廠家的重型錘式破碎機設備有著時產50-3000噸不等的產量以及各種的型號。您如果有什么關于設備和生產線服務的問題請咨詢我們的在線技術人員,我們將會盡力為您解答疑問。

















